Tel. kom. 601 160 122
Tel. kom. 605 661 021
E-mail: firmakaczocha@wp.pl

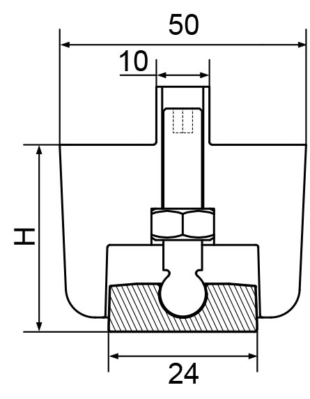
Stopka okrągła z regulacją pochyłą

Materiał: polipropylen

Kolor: czarny RAL 9005

 Nr art.H min-max[mm]
1K14027,0-40,0

Masz do nas pytania? Skontaktuj się z nami w wygodnej dla Ciebie formie.